QG型桥式刮渣(刮泥)机

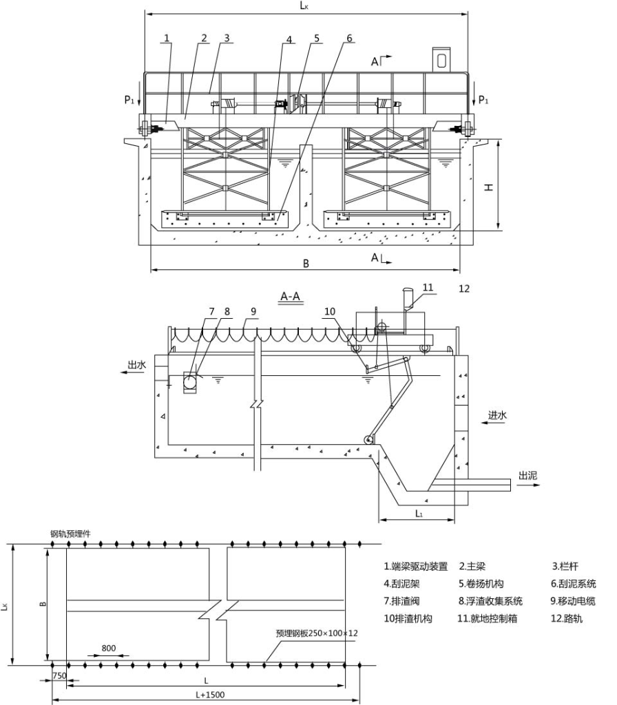
QG型桥式刮渣(刮泥)机用于矩形平流式沉淀池,将池底沉积污泥自动清除并将表面浮渣撇向集渣槽排出。设备由主梁、驱动装置、提耙机构、刮泥耙、撇渣板及电控系统组成,运行平稳、自动化程度高,广泛应用于市政、化工、食品、造纸等行业。
自动刮泥与撇渣一体化设计,运行稳定、维护便捷,支持定制与工程配套。

结构及工作原理

QG型桥式刮渣(刮泥)机主要用于城镇污水处理厂及自来水厂的平流式沉淀池的排泥,该机为单向刮泥,根据用户要求,可增设撇渣、撇渣装置。
该设备采用移动桥式,当刮泥机不工作时,即停在进水端;当刮泥机工作时,顺水流行驶时,先放下撇渣板,将池面浮渣撇向池端钢制撇渣槽内,而刮泥板被提离池底;反向行驶时,放下刮泥板,将池底污泥刮向池端集泥槽内,而撇渣板被提起,离开液面以防浮渣逆行;依此作往返工作运动,从而达到刮泥、撇渣的目的。

产品优势

  • 自动化运行,刮泥与撇渣同步进行
  • 行星摆线针轮减速机,运行稳定
  • 夹轨防跑偏装置,无啃轨现象
  • 提耙、放耙运动准确可靠
  • 支持滑触线或软电缆供电
  • 结构紧凑,维护方便

技术参数

工程案例

其他产品

  • QG型桥式刮渣(刮泥)机
  • 潜水搅拌机
  • 密集成套型风机
  • 微孔过滤器
  • 机械过滤器
  • 干粉投加药装置
  • 加胺加药装置
  • 联胺加药装置
  • 臭氧发生器
  • 腔体式紫外线杀菌器
  • 二氧化氯消毒剂发生器
  • 地埋式一体化污水处理设备

相关产品

常见问题FAQ

Q:QG型桥式刮泥机适用于哪些池型?
A:适用于矩形平流式沉淀池及其他需自动刮泥的场合。

Q:设备是否支持定制?
A:支持按池宽、池深、材质及驱动方式定制。

Q:维护周期多久?
A:建议每季度检查驱动系统与刮泥耙机构。

需要定制化解决方案?

我们提供技术支持、产品选型与快速报价服务。